Ícono del sitio

¿Está Microsoft volviendo a los teléfonos inteligentes? Nueva patente de teléfono ofrece pistas

¿Está Microsoft volviendo a los teléfonos inteligentes?  Nueva patente de teléfono ofrece pistas


La firma con sede en Redmond ha presentado una patente para una Surface de triple pantalla, pero ¿podría un producto de este tipo tener éxito donde las variantes de pantalla dual han fallado?

Un nuevo Microsoft La patente sugiere que la compañía tiene algunas ideas nuevas para su próximo teléfono inteligente Surface. La firma con sede en Redmond tiene una larga trayectoria en el mundo de la telefonía móvil, aunque gran parte de ella ha estado marcada por el fracaso. Hasta mediados de la década de 2000, era común ver una versión reducida del software Windows de Microsoft ejecutándose en los teléfonos inteligentes de la época. Sin embargo, con la llegada del iPhone en 2007 y el posterior auge de los dispositivos Android, estaba claro que Microsoft tendría que cambiar de táctica. Como resultado, el gigante tecnológico invirtió mucho en su división de Windows Phone, pero al final, la apuesta no dio sus frutos y Microsoft cerró la unidad en 2017.

VIDEO DEL DIA

Microsoft volvió a ingresar al espacio de los teléfonos inteligentes en 2020 con el Surface Duo de $ 1,500, un Android plegable de doble pantalla. Desde una perspectiva de diseño, el teléfono con forma de libro ciertamente parecía encajar a la perfección con líneas limpias y una bisagra de múltiples ángulos. Pero para la usabilidad, muchos encontraron que sus componentes internos desactualizados y el software lento no podían justificar un precio tan alto. No hace falta decir que Microsoft tomó otra oportunidad en 2021 con Surface Duo 2, y aunque pudo solucionar algunos de los problemas anteriores, el dispositivo apenas ha encendido el mercado.

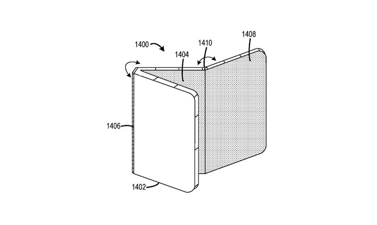
A pesar de su tibio regreso a los teléfonos inteligentes, parece que Microsoft está lejos de ceder de nuevo al panorama de la telefonía móvil. Como muestra una presentación de la Oficina de Patentes de EE. UU. Recientemente publicada, la compañía está considerando un dispositivo que cuenta con tres pantallas plegables. La firma ha preparado una ilustración que demuestra cómo las dos bisagras del teléfono permiten que las pantallas se abran y cierren en forma de acordeón. El fabricante de dispositivos rival TCL mostró anteriormente un concepto similar.

El archivo se realizó antes del lanzamiento de Surface Duo

Posiblemente, el aspecto más emocionante de la solicitud de patente de Microsoft es que la registraron varios meses antes del lanzamiento del primer Surface Duo. Entonces, si bien la compañía estaba superando las expectativas con su debut plegable, también estaba planeando algo aún más lejano. Pero, como ya se señaló, la respuesta a la línea Surface Duo ha sido tibia en el mejor de los casos. Por lo tanto, es razonable considerar que Microsoft podría dedicar más tiempo a perfeccionar la experiencia de pantalla doble antes de lanzar un producto triple.

Aún así, si aparece un teléfono inteligente Surface actualizado que presenta una tercera pantalla (¿Surface Trio?), Vale la pena considerar cuáles podrían ser los pros y los contras de dicho dispositivo. Por ejemplo, es casi seguro que tres pantallas serían excelentes para realizar múltiples tareas, pero cuando se pliegan, pueden parecerse a una hamburguesa. Aún así, un panel adicional podría permitir una mayor capacidad de batería, pero con todo ese vidrio, metal y plástico, el peso probablemente también se convierta en un problema. Pero tal vez De Microsoft El desafío más importante de todos será encontrar clientes dispuestos a pagar por todo ese espacio en pantalla.

Fuente: Oficina de Patentes de EE. UU.





Source link

Salir de la versión móvil