- El año pasado, el Servicio Postal de EE. UU. Solicitó una patente que describe un “sistema de votación seguro” basado en blockchain. La semana pasada, se convirtió en un registro público.
- El sistema, si se aprueba, implicaría enviar a los ciudadanos un código legible por computadora que valida tanto la identidad como la información de la boleta, todo mientras se mantiene el anonimato.
- También podría explicar la mayoría de las afirmaciones infundadas del presidente Trump sobre el fraude en la votación por correo.
El Servicio Postal de los Estados Unidos (USPS) está en el punto de mira de un choque de votaciones por correo, con el presidente Donald Trump bloqueando fondos suplementarios para la agencia de correo independiente, que ha sufrido financieramente durante la pandemia de COVID-19, y los demócratas comparan la medida con “sabotaje.”
Todo se suma al desastre para la integridad de las elecciones presidenciales de 2020. El USPS advirtió a los 50 estados y a Washington, DC que las boletas electorales por correo podrían no llegar a las oficinas electorales de manera oportuna para el conteo, y las máquinas de clasificación de correo están desapareciendo de las líneas de las instalaciones con poca o ninguna explicación.
Sumérgete más profundo. ➡ Leer las mejores funciones tecnológicas de su clase y obtenga acceso ilimitado a Pop Mech, comenzando ahora.
Ahora, el USPS parece estar trabajando en una alternativa del siglo XXI a las tradicionales papeletas de voto en ausencia: la votación por correo basada en blockchain. De ser cierto, podría aliviar los temores de Trump sobre el fraude electoral.
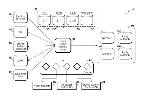
El Servicio Postal presentó una solicitud de patente el 7 de febrero de 2019 para un “sistema de votación seguro”. La Oficina de Patentes y Marcas de los Estados Unidos (USPTO) hizo pública la solicitud el 13 de agosto, luego de un período de silencio rutinario de 18 meses.
El sistema de votación de la nueva era, si se aprueba e implementa, utilizaría una combinación de correo tradicional y código legible por máquina. Específicamente, el USPS entregaría a los votantes registrados un tipo de código de barras que confirma la identidad y la información de la boleta cuando se carga en línea.
“El sistema separa la identificación de los votantes y los votos para garantizar el anonimato de los votos, y almacena los votos en un libro mayor distribuido en una cadena de bloques”, explican los inventores en el resumen de la patente.
Mecánica popular se comunicó con el Servicio Postal de EE.UU. para obtener comentarios sobre la solicitud de patente. Un portavoz dijo que la agencia no tenía comentarios en este momento.
La tecnología Blockchain es la red descentralizada subyacente que hace que las criptomonedas, o formas de dinero digital, como Bitcoin y Ethereum, sean posibles. Utiliza una red dispar de computadoras para “extraer” la moneda. Debido a que las criptomonedas no son emitidas por los gobiernos y debido a la red distribuida de blockchain, la moneda digital es teóricamente inmune a la malversación.
Esto se alinea con algunas de las afirmaciones de la solicitud de patente:
Los votantes generalmente desean poder votar por funcionarios electos o sobre otros temas de una manera conveniente y segura. Además, quienes celebran elecciones desean poder asegurarse de que los resultados de las elecciones no se hayan alterado y que los resultados correspondan realmente a los votos emitidos. En algunas realizaciones, una cadena de bloques permite el seguimiento de los diversos tipos de datos necesarios de una manera segura y permite a otros confirmar fácilmente que los datos no se han alterado.
Pero debido a que las patentes pueden tardar años en materializarse como productos o servicios legítimos, si es que lo hacen, porque la propiedad intelectual a veces nunca ve la luz del día, esta tecnología ciertamente no se utilizará en las elecciones de 2020. Y, debido a que la solicitud de patente es provisional, siempre existe la posibilidad de que la USPTO no otorgue la patente en absoluto.
Este contenido se importa de {embed-name}. Es posible que pueda encontrar el mismo contenido en otro formato, o puede encontrar más información, en su sitio web.
Mientras tanto, la mayoría de los votantes registrados tienen derecho a una boleta por correo, de una forma u otra, para las elecciones de 2020, según el Centro de Política Bipartidista, un grupo de expertos con sede en Washington, DC que promueve “la salud, la seguridad y las oportunidades para todos los estadounidenses “.
En casi todos los estados, los votantes que están preocupados por la pandemia del coronavirus son elegibles para solicitar una boleta por correo de sus funcionarios electorales o recibirán una automáticamente. Debido a preocupaciones relacionadas con COVID, a los votantes de algunos estados se les enviará automáticamente por correo una solicitud de boleta por correo para alentarlos a votar de esa manera.
Sin embargo, Trump ha expresado preocupaciones actualmente sin fundamento de que la votación por correo esté lista para el fraude. En particular, el presidente ha expresado dudas de que la persona que emitió el voto sea en realidad la persona cuyo nombre figura en la boleta, y una preocupación generalizada de que las boletas puedan ser manipuladas una vez enviadas por correo.
Este contenido se importa de Twitter. Es posible que pueda encontrar el mismo contenido en otro formato, o puede encontrar más información, en su sitio web.
Este contenido es creado y mantenido por un tercero y se importa a esta página para ayudar a los usuarios a proporcionar sus direcciones de correo electrónico. Es posible que pueda encontrar más información sobre este y contenido similar en piano.io
Esta sección de comentarios es creada y mantenida por un tercero, y se importa a esta página. Es posible que pueda encontrar más información en su sitio web.
