- Microsoft ha patentado una cubierta de teclado con un panel solar incorporado.
- Algunos expertos de la industria suponen que esta es una forma de extender la vida útil de la batería y agregar valor a los dispositivos Surface.
- Un dispositivo real podría tardar años, pero una patente puede retrasar el desarrollo de los competidores.
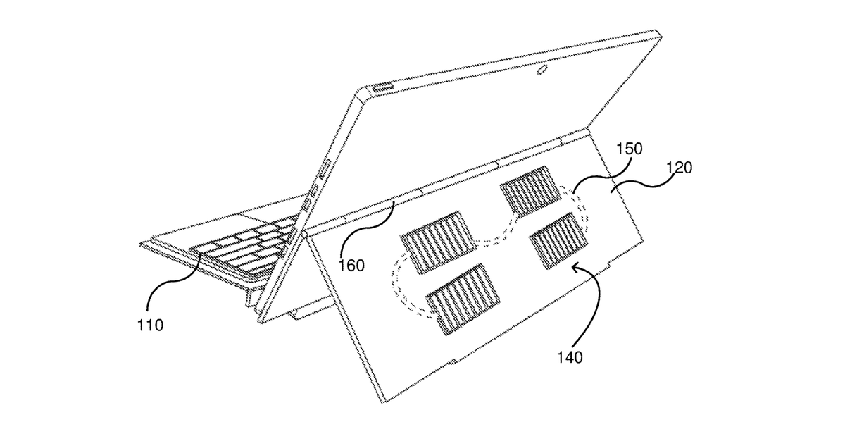
Microsoft tiene presentó una patente para un panel solar integrado en la cubierta de un dispositivo. La aplicación de la compañía confirma que es para un dispositivo de estilo Surface Pro, donde la cubierta incluye un teclado y, en este caso, también paneles solares. Además de las cualidades ambientales vendibles de un accesorio de dispositivo con energía solar como este, Microsoft siempre ha ganado mucho dinero con los periféricos de Surface, como las cubiertas intercambiables.
Microsoft vende “carátulas tipo” suplementarias, el término ya conocido para la combinación de carátula y teclado vendidos para tabletas Surface desde el principio, a precios que comenzar en $ 130. Otros accesorios de marca incluyen un lápiz óptico de $ 150, un mouse inalámbrico de $ 80 y auriculares inalámbricos de $ 250. La demografía de Microsoft podría ser la adecuada para una cubierta de teclado premium alimentada por energía solar en algún momento en el futuro. La compañía presentó la patente en 2018, pero se hizo pública.
La forma más eficiente de alimentar los paneles solares es con luz solar directa y plena, que no suele ser el entorno en el que alguien quiere usar una tableta o computadora. De hecho, es difícil imaginar que las condiciones al aire libre sean la intención aquí: ¿qué? ¿Dejarás tu Surface de $ 900 o incluso su cubierta tipo $ 200 + afuera en el clima? Pero los paneles también pueden cargarse (menos eficientemente) de la luz solar indirecta o incluso de la luz interior, como las bombillas incandescentes o LED.
Expertos de la industria citados en Tech Xplore me pregunto si la cubierta de tipo solar es una forma de extender la vida útil de la batería de la familia de dispositivos Surface, y es cierto que los paneles solares son mucho más eficientes que nunca. Pero la Surface, que surgió como un aspirante a asesino de iPad y utiliza un peso muy ligero y “elegancia” como sus puntos de venta, es poco probable que conecte un dispositivo solar torpe a cualquier cosa. Es probable que una aplicación real de la patente se encuentre años más adelante.
El mejor equipo de superficie
El iPad también tiene su propia categoría robusta de fundas de teclado ahora. En términos de competencia directa, la línea de productos Surface está dirigida al iPad Pro al competir por un rendimiento real en lugar de solo la portabilidad y la novedad de la pantalla táctil, y Apple a su vez adoptó el modelo de carcasa del teclado porque la superficie, no solo el teclado incluido de Surface, sino el próspero mercado secundario de más y mejores cubiertas de teclado.
Esta patente podría ser el reclamo preventivo de Microsoft para el mercado de la cubierta del teclado solar. Las unidades de superficie vienen con teclados, que puede elegir actualizar o reemplazar por más dinero. Solar podría atraer incluso a los usuarios más testarudos del teclado incluido. Y cuando el iPad más barato cuesta solo $ 330, pero el teclado adicional cuesta $ 160, el teclado solar Surface podría aumentar la cantidad que gasta en una configuración completa desde el principio.
Al ahorrar energía, hipotéticamente prolongar la vida útil de la batería y sacar a Apple del primer lote de teclados de tabletas solares, Microsoft puede haber escrito su propio cheque al patentar la cubierta del tipo de panel solar.




