Ícono del sitio

Por qué me tomó 30 años patentar mi idea

Por qué me tomó 30 años patentar mi idea


  • Nombre: Randy Artruc
  • Patente No .: 10.023.282
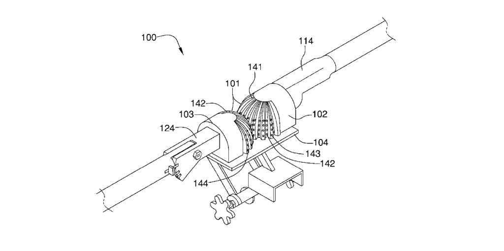
  • Patente: engranajes para revertir el movimiento de remo para remos: la invención de Artruc utiliza un par de engranajes hemisféricos para hacer que los movimientos de un remo se correspondan con los movimientos de la mano de un remero. Sujetado al costado de un bote, permite al remero mirar hacia adelante.

    La idea vino de cuando estaba en California, en las Sierras con algunos amigos. Esto fue en el '88. Uno de los chicos tenía un bote de remos. Yo dije: "Bueno, haré el remo, y ustedes pueden pescar". No tenía una licencia de pesca. Dijeron: "¡Ah, no necesitas una licencia de pesca aquí!". Le dije: "Con mi suerte, el día que decida pescar sin licencia, el director estará aquí. Solo remaré ”. Mientras estoy remando, estoy pensando: este es el único medio de transporte que hacemos al revés.

    Yo creo que Estoy siendo inteligente: ¿Tal vez si invento un espejo retrovisor? Seis años más tarde, estaba en la casa de un amigo tomando una cerveza y noté que las tapas de las botellas son como pequeños engranajes. Y para cuando tuve mi segunda cerveza, tenía dos tapas de botella y pensé: Bueno, mira esto, podrías cambiar a remar hacia adelante.

    Compré dos bolas de madera redondas de tres pulgadas y engranajes tallados, seguí un engranaje de transmisión de tres pulgadas que me dio un amigo. El dispositivo funcionó en el primer intento. Se sienta en la barandilla del barco. Te sientas mirando hacia adelante. El remo está en un lado de los engranajes y el mango en el otro. Debido a los engranajes, donde sea que vaya tu mano, la paleta va. Si tu mano avanza, la paleta avanza.

    Se lo mostré a un amigo y él quería que trajera mi equipo de madera al Club de Yates de San Francisco, y no me sentía bien por eso. Pensé que si hubiera hecho eso, terminarían con mi idea y terminaría con un pedazo de madera. Así que nunca fui. Luego, el 28 de diciembre de 2004, perdí el prototipo en un incendio en una casa.

    Doce años después, tuve el sueño. Lo juro. Me preguntaba sobre la jubilación, qué pasará al final de mi vida y cosas así, y tuve el sueño de ver una embarcación de remo completa utilizando ese remo impulsado por engranajes. Entonces fue cuando llamé a InventHelp.

    "Doce años después, tuve el sueño … de ver una embarcación de remo completa utilizando ese remo impulsado por engranajes".

    Siempre me ha gustado George Foreman. Él es el portavoz de InventHelp. Él siempre está en la televisión. Así que no conozco a nadie en InventHelp, ¿pero después de años de George Foreman? Confié en él. Tuve que pagar $ 1,000 para hacer la investigación, para saber si es realmente patentable. Descubrí que tengo 170 años de retraso. ¡Hubo dispositivos de remo avanzados patentados en el siglo XIX! Pero el mío funciona en cuatro direcciones: levanta y baja los remos, más el movimiento de remo de adelante hacia atrás, y también tiene otras características únicas, por lo que podría patentarlo.

    Todavía no tengo un prototipo desde el incendio. Pensé en tallar otro. Algunas personas dicen que la impresión en 3D podría ser el camino a seguir. Y algunos dicen, bueno, no sé sobre eso. Puede que no sea lo suficientemente fuerte para el estrés en los engranajes.

    InventHelp obtiene El diseño frente a las empresas. Si alguien está interesado, me dirían que tienen una compañía que quiere producirlo. Eso no ha sucedido todavía, pero estoy seguro de que está en camino. Como todo lo demás, lleva tiempo.


    Este artículo apareció en la edición de junio de 2019 de Popular Mechanics. Puedes suscribirte aquí.



    Source link