Apple está trabajando en un mouse con llave extraíble, así es como podría funcionar

Apple está trabajando en un mouse con llave extraíble, así es como podría funcionar


Apple ganó recientemente una patente en la que describe cómo se puede usar una tecla extraíble de una MacBook o un teclado Apple como dispositivo de entrada, como un mouse.

Si bien una llave removible que se puede usar como un mouse de computadora suena raro, parece manzana podría estar trabajando en este mismo concepto. En el pasado reciente, el gigante tecnológico con sede en Cupertino ha recibido muchas patentes. Por ejemplo, la compañía recibió recientemente una patente en la que describe múltiples formas de colocar todos los componentes de procesamiento de una Mac en un teclado. El diseño tiene algunos beneficios prácticos, pero es muy poco probable que los usuarios vean este producto en el mercado en el corto plazo.

En febrero de 2022, Apple patentó un nuevo tipo de techo solar para automóviles. La patente describe un sistema de tintado ajustable que permite al piloto establecer la cantidad de luz solar que ingresa al automóvil. Hay otra patente de Apple que describe cómo un iPhone puede crear la imagen de cabezón de su propietario. Luego podría usarse para generar avatares 3D para los auriculares de realidad mixta de Apple y quizás en el metaverso.

VÍDEO DEL DÍA

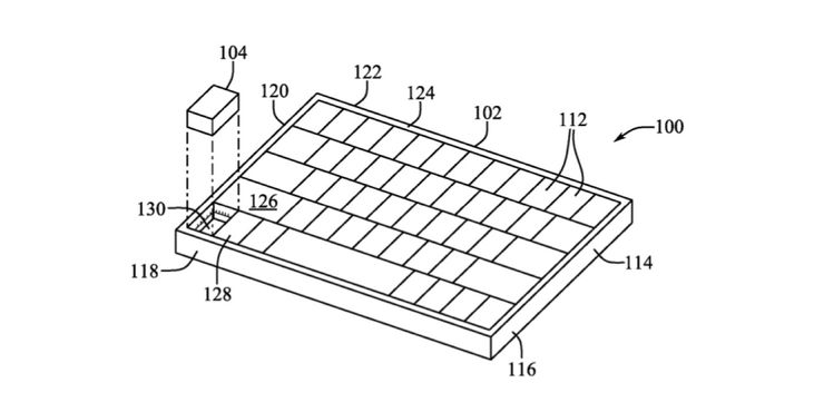
Según los informes, Apple ha estado trabajando en un iPhone plegable y un auricular de realidad mixta, y ahora una nueva patente sugiere que la compañía también podría estar trabajando en una llave extraíble que actúa como un mouse. Apple presentó la patente ante la Oficina de Patentes y Marcas de los Estados Unidos. (vía Manzana patente) en febrero de 2020, y ahora se ha otorgado oficialmente. Se titula “Ratón clave desplegabley explica cómo una sola tecla o un conjunto de teclas de un teclado se pueden sacar de su alojamiento y utilizar como joystick, dispositivo de puntero o ratón.

Casos de uso de un ‘ratón con llave desplegable’

Como explica la patente, la llave extraíble puede tener dos aplicaciones. Se puede usar como una tecla normal que se puede presionar para proporcionar una entrada definida, como las teclas normales en una MacBook o un teclado Apple. Sin embargo, la segunda aplicación implica el uso de la clave como un “dispositivo señalador de la computadora usando el sensor de posición“En otras palabras, los usuarios pueden quitar esta tecla de su lugar en el teclado y usarla como un mouse que proporciona entradas a través de clics y movimiento. Lo haría con la ayuda de sensores. La patente agrega que la tecla extraíble permite “entrada de puntero cómoda, portátil y precisa para un sistema de entrada de computadora.”

Si este diseño realmente llega a la producción, podría ser un producto revolucionario para las muchas personas que usan un mouse con su MacBook o iMac. Dado que la patente habla de una tecla extraíble que contiene un dispositivo de entrada de computadora, este diseño se puede usar tanto para MacBooks como para iMacs que vienen con un teclado y un mouse externos. Vale la pena mencionar que las empresas solicitan muchas patentes, pero solo unas pocas llegan a producir. Si bien ese podría ser el caso con este mouse clave, sería útil para manzana Usuarios de MacBook e iMac si llega a los estantes.

Fuente: USPTO, Patently Apple





Source link