Disney podría combatir la piratería con un sistema basado en blockchain. La millonaria compañía no está dispuesta a que sus nuevos estrenos de cine acaben siendo «victimas» de los portales de descarga por lo que está aumentando sus esfuerzos para evitarlo.
Disney se prepara para combatir la piratería
La noticia ha sido desvelada por el blog TorrentFreak. Aparentemente, Disney estaría lista para impulsar la piratería adoptando un nuevo enfoque para la distribución de sus contenidos, especialmente sus películas: la cadena de bloques o «blockchain». De esta forma, la popular empresa de ocio y espectáculo espera dificultar a los piratas la interceptación del contenido que llega a los cines.
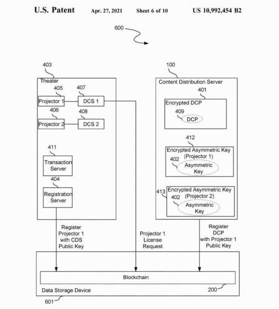
Una nueva patente presentada por Disney, llamada «Configuración de Blockchain para la entrega segura de contenido», ha proporcionado información sobre este sistema. Como mostramos en el diagrama a continuación, se centra en la distribución de contenido en los cines.

La idea de Disney es implementar y validar el proceso de distribución de su contenido utilizando la red blockchain : » a diferencia de las configuraciones anteriores, la configuración blockchain verifica que el contenido se recibe en el destino previsto antes de permitir la reproducción «. El blockchain, de hecho, validará el contenido antes de iniciar la reproducción: de esta forma es prácticamente inútil robarlo ya que no sería posible verlo y tampoco se producía reproducir más allá del sistema de reproducción legal o permitido.
Sin embargo, este principal esfuerzo que Disney está dispuesto a implementar con tal de poder proteger sus estrenos de cine tiene otra característica principal ya que la configuración de blockchain tiene un mecanismo de control automatizado que rastrea la reproducción del contenido en el destino para asegurar que la cantidad de reproducciones se registre con precisión. Por lo tanto, es del todo posible impedir la piratería ya que se pueden registrar las reproducciones y evitar aquellas que se salen fuera de los márgenes o de la cantidad que se haya establecido para cada contenido.
Disney en la licencia que ha registrado para este nuevo sistema se refiere únicamente a cines y proyectores, pero en el margen se señala que la patente también se aplica a «otros entornos de reproducción» , como el streaming de modo que tal vez se podría acabar aplicando también para los contenidos en su plataforma Disney Plus.
Como siempre en estos casos, el hecho de que Disney haya recibido la patente no prueba que esta vaya a ser implementada en breve, aunque sí que se está trabajando en ello y parece que están decididos a salir del «juego» de la piratería.
